
Miniature Bearings Australia
SC127C-038-SQ-C-DP - Datasheet
MBA
Category Information
Screws - Set - Dog Point - Square HeadSquare Head Dog Point Set Screws. Grade 8 hreat treated alloy steel. All screws are threaded to the head.
Product Data
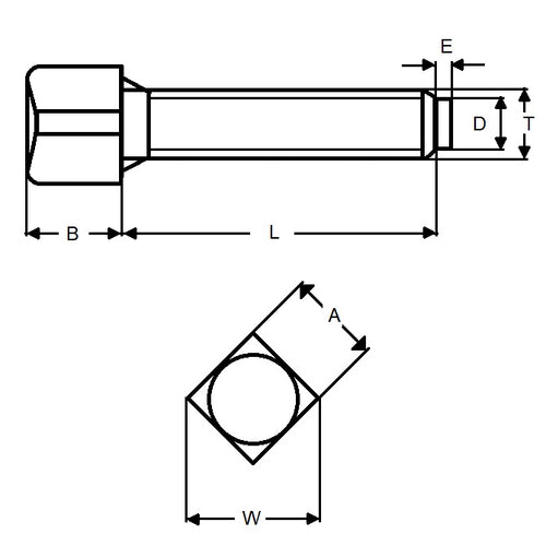
- Thread : 1/2-13 UNC (12.7mm)
- Thread Length (L)
38.100
mm
(Equiv. 1.5 in.) - Head Flats (A)
12.700
mm
(Equiv. 0.5 in.) - Head Height (B) 9.520 mm
- Tip Diameter (D) 8.710 mm
- Tip Height (E) 3.170 mm
Product Compliance and Data
Additional Resources
- Screws & Nuts Catalogue
- Shoulder Screws Catalogue
- Socket Set (Grub) Screws Catalogue
- Thumb Screws & Thumb Nuts Catalogue
- Thread Size Chart - Combined Imperial & Metric
Cross References
- Reid Tool® MAC-380
- MAC380


